如何规划摄像头监控点位?
2023-03-31 乐竞体育在线注册,乐竞体育(中国)
板式滤油机设备功能及工作原理!
2023-03-30 乐竞体育在线注册,乐竞体育(中国)
法兰电加热器知识介绍分享
2023-03-30 231
干烧加热管可以用法兰加热管吗?
现场临电变压器容量选择、配电系统设计、电缆选型以及配电箱设计
2023-03-29 乐竞体育在线注册,乐竞体育(中国)
150 t/h超高压再热循环流化床锅炉事故处理
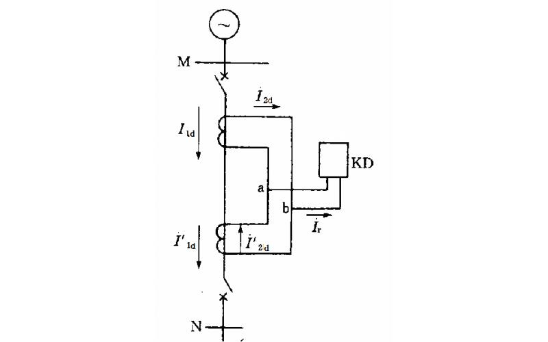
电力变压器的保护配置
2023-03-27 乐竞体育在线注册,乐竞体育(中国)